
一点通控制器配 POM电磁阀
● 用于大众浴池淋浴节水。
● 与手动阀门相比,可节水、节能40~50%。
● 指触出水,延时60秒自闭;仍需用水,再触开关;出水期间,触摸水停。
● 外观高雅,没有裸露管道,可提升浴池档次。
● 安全方便,与脚踏阀相比,无滑倒碰伤的危险。
一、用途
本系列产品是专为公共洗浴场所的节能节水设计。具有自动延时停水和随时手动停水的双重功能。洗浴者只要用手指触摸(指触式)或在控制器的感应区前用手遮挡(手感式)一下,就可淋浴。正在出水时如想停止淋浴,可再触摸或遮挡一下感应区,终止出水。不触摸或遮挡时,控制器延时60秒后自动停水,如果继续淋浴可再次触摸。
浴池应用本产品,可节省水、电、煤及设备损耗费用40%以上,同时具有可靠、耐用、高雅、美观等优点,是手动阀、脚踏阀的理想替代产品。一般3~6个月可收回投资,一次投入,长期受益。低电压供电,不存在安全问题。如原为双管双温供水,必须先改造为单管恒温供水。
二、主要特点
与国内同类产品相比,其特点是:
● 洗浴时身体部位不受限制。
● 弯腰洗腿部时仍可正常出水。
● 不受水质困扰,采用不锈钢电磁阀,可以实现三年免维护使用。
● 产品有明、暗两种镶装方式,适合不同用户选用。
三、主要技术指标
1.电源另购

电 源
●多套淋浴器共用同一电源适配器供电,其特性为:
输入:交流220V/50HZ
输出:直流12V
●安全驱动能力:
12V/10A开关电源可驱动:20~25套淋浴节水器
12V/20A开关电源可驱动:30套淋浴节水器
2.感应控制器
工作电压:直流12V(优质POM阀)
平均功耗:≤ 2W
延时时间:60±1秒(用户可订制)
工作环境温度:1~50℃
工作环境湿度:100%
3.电磁阀
通 径:DN15
介质温度:1~60℃
工作寿命:≥50万次(POM阀)
介质压力:0.01~0.5Mpa (POM阀)
浴池用水的成本,由水、电、燃料、排污、人工、设备折旧等六大因素构成,经计算表示,把一吨12℃的水提升到理想的洗浴温度42℃,大约需要30Kg标煤,以每吨煤500元计算,需投入燃料费15元,以每吨自来水3元计算,加上其它费用,每吨热水的成本绝对不低于20元。
在管道压力0.12Mpa时,15毫米水管在常开状态下,每小时出水为600升,每分钟出水量为10升,折合成本在0.20元以上,每小时折合成本在12元以上。
如果,每天使用按4小时计算,每天每个淋浴喷头耗水600升×4/小时=2.4吨,采用本产品,假如以最低节水率40%计算,可节水2.4吨×40%=0.96吨,节省费用12元×0.96=11.52元。那么每个喷头年节水为11.5元×300天=3450元。
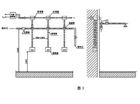
1.暗装式淋浴节水器的安装
安装时需要与土建和管路安装相配合(详见图3), 将塑料预埋盒及穿线管用水泥固定在墙体内,绝对不允许将引线直接抹在墙内,电源放置在干燥通风无易燃物品处。
特别强调,应在贴磁砖之前统筹设计。

2.明装淋浴节水器的安装(详见图4)
a.用冲击钻在墙体距地面1.2~1.4米适当位置打孔,将控制器预埋盒固定。
b.连接电磁阀及导线。
c.整理裸露在墙体表面的导线,用塑料导线槽加以保护。

3.电源适配器安装
电源适配器安装在吧台、更衣室等干燥通风无易燃物处,应与控制器距离接近,以减少压降,必须将电源适配器接地引线与“地”可靠连接。
4.感应控制器的装配(详见图5)

5.控制器的电气接线图
配POM阀时接线方法(详见图7)。控制器红线接电源+12V, 黑线接0V,黄、蓝线接电磁阀,电磁阀引线不分正负。

注意事项:
1.安装前应先将管道内杂质冲洗干净;
2.安装电磁阀时应将箭头方向与水流方向一致;
3.不要带电安装或作业,检查无误后方可通电;
4.在淋浴主管道前部加装过滤器或在末端安装排污阀以便清除管道内杂质;
5.直流稳压电源应安装在干燥通风环境,并使外壳可靠接地;
6.如果使用温泉水或水中矿物质含量大,需定期清理电磁阀和滤网;
7.控制器的感应窗口必须保持清洁,可用柔软湿布擦拭,清洗浴池应避免用水直接冲洗控制器;
8.接线时一定要严格按照接线图进行接线,不清楚时,要立即与厂家沟通,否则,可能造成永久损坏;
9.电线接头处必须符合《公共浴池安装接线规范》,在绞合后进行锡焊,套上压线帽,用钳子压紧后灌703硅胶,这直接关系到产品的使用寿命。
性能参数:
LY-03A型号 A配套电磁阀 0.03~0.5mpa适应水压 DC12V工作电压 先导式阀门结构 明、暗安装方式
LY-03B型号 B配套电磁阀 0.00~0.2 mpa适应水压 DC24V工作电压 直拉式阀门结构 明、暗 安装方式
LY-03C型号 C配套电磁阀 0.03~0.5 mpa适应水压 DC12V工作电压 先导式阀门结构 明、暗 安装方式
