
一、用途
适用于学校、医院、机关等公用卫生间小便槽的自动冲洗。人近出水,人离水停,有效地解决了小便槽常开阀门费水,不开阀门有味的矛盾。与常开的手动阀相比,节水率超过90%。
按传统设计的小便槽,是采用一根管,钻上孔,用一个阀门控制水的开闭,其缺点:
一是不论有人无人使用,总是常开不关,虽达到了干净卫生的目的,但浪费了宝贵的水资源,一个15mm水管在0.2Mpa压力下每小时出水量不低于1吨。长年累月,实在惊人,有人测算,一个小便槽两年可流走一台“桑塔纳”;二是常关不开,这虽节约了水资源,但造成了卫生间的臭气难于消除,影响卫生。BC—07HS型小便槽智能冲水控制器可合理地解决以上的矛盾。它的工作原理是,只要有人走近小便槽,感应器就会接收到人体红外信号,输出一个信号给电磁阀,自动冲水数秒,无人使用时,永远不冲,从而达到厕所清洁卫生和节约用水的双重目的。
二、主要技术指标:
本产品有交流或电池供电两种形式。
1.工作电压:220V/50HZ
2.静态功耗:≤0.5W
3.电磁阀电压直流脉冲4.5V
4.有效探测距离:≤4m(范围)
5.探测角度:108°
6.电磁阀通径:DN15
7.电磁阀工作压力:0.1—0.6Mpa
8.有效控制水管长度:1~5米
在0.25MP压力下,15㎜管径,按1/2开放量,每小时流量为2.78M3,假设每天开放9小时,流量为25.02 M3,需支出水费25.00元,如10个小便槽每天支出250.2元,月支出水费7506元;采用DC-07HS小便槽节水控制器,即使按节水率70%计算,可节省水费5254.20元。
1.将控制器安装在小便槽正上方,窗口向下,对准人站立的位置,距地2.5米以上,形成有效感应扇区。注意防止水溅到控制器上。
2.电磁阀安装在管道上。注意阀体箭头方向与水流方向一致。
3.控制器应在额定电压下使用,电压波动范围不超过额定电压的±10%。
4.控制器下方不允许有障碍物阻挡或暖气等热源,以防影响感应效果。
5.对于较长的小便槽(超过5米),为使控制器感应效果最佳,应根据小便槽的长度,安装2—3套控制器,进行多段控制。
6.电磁阀应安装在较高处,防止人为破坏及触电事故发生。
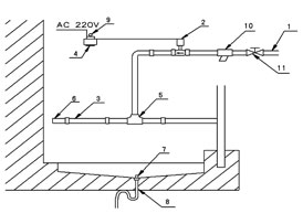
结构和安装示意图:
1.冷水管 2.电磁阀 3.多孔管 4.控制器 5.三通 6.管堵 7.罩式排水栓 8.存水弯 9.固定卡 10.过滤器 11.截止阀
