DB-06HP 蹲便智能冲洗控制器(水箱式)
安装和使用本产品前,请先确认您所购买的产品型号及相应的安装方法,详细阅读本说明书,以便正确安装和使用。
此说明书及所附的质量保修卡请长期妥善保管,以便日后维修。
购货前请根据工作条件确认产品型号:
水箱式DB—06HP:当用户水压低于0.2Mpa或供水管道口径小于25mm,且墙体厚度小于或等于150mm时,建议选用水箱式。
一、用途及工作方式
本产品是一种智能型卫生洁具,主要用于单蹲位厕所的自动冲洗,解决手拉或按压式阀门,有人用后不冲,造成粪便堆积、交叉感染等问题。是宾馆、酒店、机关、医院等公共场所高档次装修的首选器具。
当人体进入蹲位有效监测距离之内的时间不足5秒时,视为无效,离开后不予冲洗,当人体在蹲位上的时间超过5秒而小于90秒后离开时,视为小便,放水时间为8秒。
当人体在蹲位上的时间超过5秒大于90秒后离开时,视为大便,放水时间为16秒。人体在蹲位上的时间不受限制,即在蹲位上时间无论多长,也是在人离开后放水,若卫生间长时间无人使用,那么控制器会每隔24小时自动放水一次,以消除便池长时间不冲水所带来的异味。
二、特点
●采用最先进的单片机及红外控制技术。
●具有智能化功能,可自动区分大小便。
●追求外型美观适合高档装修。
●有暗装、明装两种安装方式,适合不同用户的选择。
三、主要技术指标
1.电源。
水箱式采用直流稳压电源供电。
直流稳压电源输入:交流220V/50HZ
输出:直流8V,15V
安全驱动能力:1~4套
2.感应控制器。
工作电压:直流8V,15V
平均功耗:≤1W
有效感应距离:300—800mm
放水时间长度:8~16秒
工作环境温度:1~50℃
工作环境湿度:≤93%
3.排水阀
介质温度:≤0~50℃
工作寿命:>50万次
工作压力:0.01~0.6 Mpa
耗水量:≤6L(0.6Mpa)
四、安装方法
1.安装。
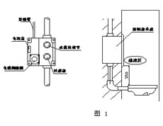
a.在安装位置墙壁上预留控制盒安装孔和电源安装孔、电源安装孔应选在干燥通风,无易燃物,不易被人破坏的隐蔽处,埋入导线塑料穿管和水管的隐蔽部分参照(图1、图2、图3)

b.先将预埋盒镶入,贴好瓷砖,将排水阀及浮球阀手动拉杆(自选件)装入高位水箱再将水箱固定在墙上,然后配接水管。
c.预埋盒的口部必须和最后形成的墙面在一个水平面上。
d.面板靠磁力固定,拆卸时可借助真空吸盘。
e.装好水箱手动拉杆的拉绳,以备停电或控制系统一旦失灵时,用手动方式冲洗。
2.感应控制器的接线(见图4)

五、注意事项
a.当反射窗口有污物时,应及时擦净,以保证正常工作。
b.尽量避免将水直接淋在控制器上。
c.控制器下沿距地面高度最好在400mm左右,以便可靠的感应信号。
d.水箱式控制器出厂时,感应距离调定为800mm,一旦发生变化,在控制盒盖上有距离调整孔,可将螺丝旋开,在通电的情况下通过调整电位器对红外控制器距离进入调整(如图5),调整后重新装入螺丝,并用胶封紧,以防潮气进入,在潮湿的环境下,不要进行这一操作。
e.控制器与电源适配器和排水阀引线,必须通过塑料穿线管隐装在墙体内,以解决美观及防破坏问题。考虑以后的维修及安全。不可将电线直接抹入水泥墙体内。
f.为保证水的压力不受损失,排水阀出水口与便器之间的联接管道折弯(即90°弯),不能超过2个。

六、一般故障排除
a. 指示灯不亮,电源故障,检查电源。
b. 指示灯变化,不出水,检查排水阀引线与控制器的引线是否开路,控制器是否有电压输出,线圈是否断路。排水阀卸压孔(耳管)是否堵塞。
c. 出水不停,多为排水阀膜片被杂质垫起或耳管脱离,线圈复位簧折断所致。
d. 当有人进入感应区,指示灯不发生变化,一直红色或黄色,控制器故障送修。
e. 水箱式控制器感应距离过远或过近时,建议调整控制盒盖上距离调整孔。
f.水箱溢水是浮球阀关闭不严所致,应及时更换。
七、保修。
本产品自售出之日起,控制器二年内非人为损坏,可凭保修卡及原始发票寄回公司或办事处免费维修,超过保修期只收取少量元件费,如用户安装使用不当引起损坏,费用由用户承担,购买时请索要最终销售单位盖章的《保修卡》。
DB-06HB 蹲便智能冲洗控制器(管道式)
安装和使用本产品前,请先确认您所购买的产品型号及相应的安装方法,详细阅读本说明书,以便正确安装和使用。
此说明书及所附的质量保修卡请长期妥善保管,以便日后维修。
购货前请根据工作条件确认产品型号:
管道式DB—06HB:当用户水压大于或等于0.3Mpa,供水管道口径大于或等于25mm,墙体厚度大于150mm时,建议选用管道式。
一、用途及工作方式
本产品是一种智能型卫生洁具,主要用于单蹲位厕所的自动冲洗。解决有人用后不冲,造成粪便堆积、交叉感染等现象发生。是宾馆、酒店、机关、医院等公共场所高档次装修的首选器具。
当人体进入蹲位有效监测距离的时间不足3秒时,视为无效,离开后不予冲洗,当人体在蹲位上的时间超过3秒而小于60秒后离开时,视为小便,放水时间为5秒。
当人体在蹲位上的时间超过60秒后离开时,视为大便,放水时间为10秒。人体在蹲位上的时间不受限制,即在蹲位上时间无论多长,也是在人离开后放水,若卫生间长时间无人使用,那么控制器会每隔24小时自动放水一次,以消除便池长时间不冲水所带来的异味。
二、特点
●采用最先进的单片机及红外控制技术。
●具有智能化功能,可自动区分大小便。
●追求外型美观适合高档装修。
●有暗装、明装两种安装方式,适合不同用户的选择。
三、主要技术指标
1.电源。
管道式可采用直流稳压电源或电池供电两种方式。
直流稳压电源输入:交流220V/50HZ
输出:直流6V
安全驱动能力:1~10套。
电池供电时:4节5#碱性电池。
2.感应控制器。
工作电压:直流6V
平均功耗:≤1W
有效感应距离:300—800mm
放水时间长度:5~10秒
工作环境温度:1~50℃
工作环境湿度:≤93%
3.电磁阀
介质温度:≤0~50℃
工作寿命:>50万次
工作压力:0.2~0.6Mpa
耗水量:≤6L(0.6Mpa)
四、安装方法
1.管道式单蹲位的安装在施工中比水箱式简单,检查及维修比较方便(见图1)

2.控制器的电气接线。
管道式感应控制器接线图(见图2)

五、注意事项:
a.当反射窗口有污物时,应及时擦净,以保证正常工作。
b.尽量避免将水直接淋在控制器上。
c.控制器下沿距地面高度最好在350mm左右,以便可靠的感应信号.
d.控制器与电源适配器和电磁阀引线,必须通过塑料穿线管隐装在墙体内,以解决美观及防破坏问题。考虑以后的维修及安全。不可将电线直接抹入水泥墙体内。
e.为保证水的压力不受损失,电磁阀出水口与便器之间的联接管道折弯(即90°弯),不能超过2个,另外主管道口径应该大于连接阀体的管道口径2-3个级别。
六、一般故障排除。
a. 指示灯不亮,电源故障,检查电源。
b. 指示灯变化,不出水,检查电磁阀引线与控制器的引线是否开路,控制器是否有电压输出,线圈是否断路,电磁阀卸压孔是否堵塞。
c. 出水不停,多为电磁阀膜片被杂质垫起或皮垫损坏所致。
d. 当有人进入感应区,指示灯不发生变化,控制器故障送修。
七、保修。
本产品自售出之日起,控制器二年内非人为损坏,可凭保修卡及原始发票寄回公司或办事处免费维修,超过保修期只收取少量元件费,如用户安装使用不当引起损坏,费用由用户承担,购买时请索要最终销售单位盖章的《保修卡》。