GC-05H系列 沟槽公厕全自动节水控制器
安装和使用本产品前,请先确认您所购买的产品型号及相应的安装方法,详细阅读本说明书,以便正确安装和使用。
此说明书及所附的质量保修卡,应长期妥善保管,以便日后查阅和维修。
购货前请选择确定工作方式:
1.上水型GC-05HS
2.下水型GC-05HP
一、产品简介
由于沟槽式厕所不易堵塞,在学校、医院、厂矿等公共场所仍被广泛采用。但由于传统的冲洗水箱装置,采用倒U型虹吸管(图1)或是虹吸落水阀结构(图2),其进水管始终处于常开状态,不论是否有人使用,总是每隔三五分钟冲洗一次,表面看是定时冲洗,实际是进水管24小时长流不止。一般每天耗水量超过20~30吨,水资源浪费相当严重。

采用本产品后,可有效解决这一问题,有人入厕,延时冲水,夜间、星期天无人入厕自动停冲。每天可节水20吨以上,节水率超过80%,夜间、星期天节水率达100%,以每吨水2.5元计价,最多不超过2个月就可收回改造投资。
二、原理及特点
● 采用先进的人体红外感应原理及微电脑控制。
● 有人入厕时,定时冲洗;夜间、星期天及节假日无人入厕时,自动停冲。
● 设有防冻功能。
● 男卫生间若需要分别控制大便槽和小便槽时,可另选型(订货时声明)。
三、产品组成
上水型槽式公厕:
由控制器 (GC-05HS)、过滤器、DN15电磁阀组成。
下水型槽式公厕:
由控制器(GC-05HP)、DN50排水阀、浮球阀、变径、直通、水箱组成。
水箱有聚炳烯水箱和玻璃钢水箱两种。
四、主要技术指标:
控制器输入电压:交流220V/50HZ
控制器输出电压:直流18V(下水型) 直流12V(上水型)
上水型电磁阀水压范围:0.01-0.5Mpa
控制器感应距离:4M
工作环境温度:1-45℃
控制器工作环境湿度:≤90%
正常耗水量:≤0~3吨/日
五、选型:
本产品分为下水型(GC-05HP)和上水型(GC-05HS)两种安装方式。
当自来水水压不稳定或水质较差时,建议选用下水型(GC-05HP)。
当希望安装简便,不愿换掉原有水箱,并且自来水水压稳定,水质较好,可选用上水型(GC-05HS)。
六、安装及使用方法:
1.GC-05HP型(下水型)安装方法。
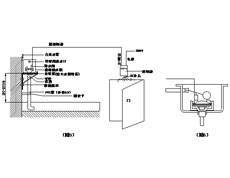
准备工作:用户需自行准备水箱固定支架(可由用户根据水箱尺寸自行设计)、冲洗管(PVC塑料管,外径Φ63或Φ50)、冲洗管固定卡、Φ10膨胀螺栓4个、DN15软管、DN15截止阀。(图3)是采用本厂配套玻璃钢水箱的角架尺寸,(图4)是采用配套聚炳烯水箱的角架尺寸。

A.先将水箱支架固定在槽式公厕的一侧,再把排水阀和浮球阀装于水箱内(图6),将变径、直通及冲洗管正确连接如(图5)。
B. 将控制器固定在卫生间门口内侧上方,传感孔朝下,并将输出线与排水阀连接好。(图5)

C.根据需要设定好“延时时间”和“放水时间”。仪器出厂时下水型延时时间定为(2×)10分钟,放水时间定为(1×)20秒。延时时间值为延时拨码开关值×5分钟。放水时间值为放水拨码开关值×20秒。
D.延时时间是指从第一个人进入时算起需多长时间后放水。
E.放水时间是指将水箱内的水全部放完所需的时间。(一般<15秒)
注意:延时和放水拨码开关范围为1—7,“0”为检测状态,用于调试检修,“8”和“9”为无效数字。
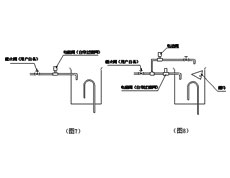
2.GC-05HS型(上水型)安装方法(见图7,图8)

A.直接安装型(图7):
将电磁阀直接串接在进水管上,把控制器(GC-05HS)固定在卫生间门口内侧上方,传感孔朝下,并将输出线与电磁阀线连接好。
B.双阀翻斗控制式(见图8):
将电磁阀和电动阀通过三通并联连接,并在电动阀出水端串接一个截止阀来控制水流的大小;将控制器固定在卫生间门口内侧上方,传感孔朝下,并将输出线分别与电磁阀和电动阀连接好。
系统有电时,电动阀关闭,有人进入,延时后电磁阀打开注水,水满后,自动落水冲洗,当系统没电时,电动阀自动打开,自来水通过截止阀控制滴入翻斗内,翻斗装满后会自动翻转,把水装入水箱内,经过几个周期后(周期由截止阀控制)水箱水已满,自动落水冲洗。
3.拨码开关与时间对照表。
延时拨码开关1 延时时间5分钟
延时拨码开关2 延时时间10分钟
延时拨码开关3 延时时间15分钟
延时拨码开关4 延时时间20分钟
延时拨码开关5 延时时间25分钟
延时拨码开关6 延时时间30分钟
延时拨码开关7 延时时间35分钟
放水拨码开关1 放水时间20秒
放水拨码开关2 放水时间40秒
放水拨码开关3 放水时间60秒
放水拨码开关4 放水时间80秒
放水拨码开关5 放水时间100秒
放水拨码开关6 放水时间120秒
放水拨码开关7 放水时间140秒
七、注意事项:
1.由于本控制器采用人体红外传感器,对移动人体十分敏感,所以最好装在门的内侧,以免因走廊行人引起误动作。如确需装在门外侧,可用胶带等不透明物对传感孔进行适当遮挡,以减低灵敏度。
2.安装时不可将电源线与电磁阀引线接错,以避免造成机器永久损坏。
3.注意防止水或蒸汽进入箱体内。
4.在本机器下方不得有热源,否则不能感应到人体进入的信号。
5.为提高冲洗力,建议冲洗管下端加工成鸭嘴形。
6.首次通电时,需经20秒后控制器进入正常工作。
7.本产品根据需要可加装防冻开关,户外厕所或冬季取暖设备较差时,可将防冻开关置于防冻位置,此时设备按设定的延时时间定时周期放水。
注意:本公司不承担因水箱水管冻裂造成的损失,故不推荐使用此功能。
八、故障及排除方法
如果经过以下还没有排除故障,请与我公司技术服务中心联系咨询。
故障现象:延时和放水灯同时亮或进入灯亮,但延时、放水灯都不亮。 原 因:电源电压异常。 排除方法:按一下复位开关或将220V电源断开,2分钟后重新通电,可恢复正常使用。
(下水型)故障现象:不冲水。但拉动排水阀线圈上尼龙线能正常放水。原 因:放水灯亮时,检查排水阀线圈两端有无18V直流电压。 排除方法:①有电压,排水阀不吸合。检查排水阀线圈有无断路。②无电压,检查线路有无断路。
故障现象:放水次数过频。原 因:排水阀损坏或工作时间设置不对。 排除方法:检查工作时间设置或更换排水阀。
故障现象:不放水时排水管少量流水。原 因:排水阀内有异物或膜片变形。排除方法:清除排水阀内的异物或更换膜片。
故障现象:水箱溢水。原 因:多是浮球阀损坏。排除方法:应更换或修理浮球阀。
故障现象:不冲水,且电源灯不亮。原 因:电源故障。排除方法:检查电源或换保险丝。
(上水型)故障现象:放水灯亮,不进水。 原 因:电磁阀膜片卸压孔堵塞 排除方法:清理卸压孔,每半年用稀草酸溶液清洗电磁阀。
(上水型)故障现象:放水灯不亮,但进水。 原 因:电磁阀膜片进水孔堵塞。 排除方法:清理进水孔。
九、保修
本产品自售出之日起,主机五年内非人为损坏,可凭保修卡寄回公司免费维修,五年内免收人工费。浮球阀、排水阀膜片不在保修范围内。人为损坏需收取维修费。购买时请索要最终销售单位的《保修卡》。